Deskrizzjoni tal-Prodotti
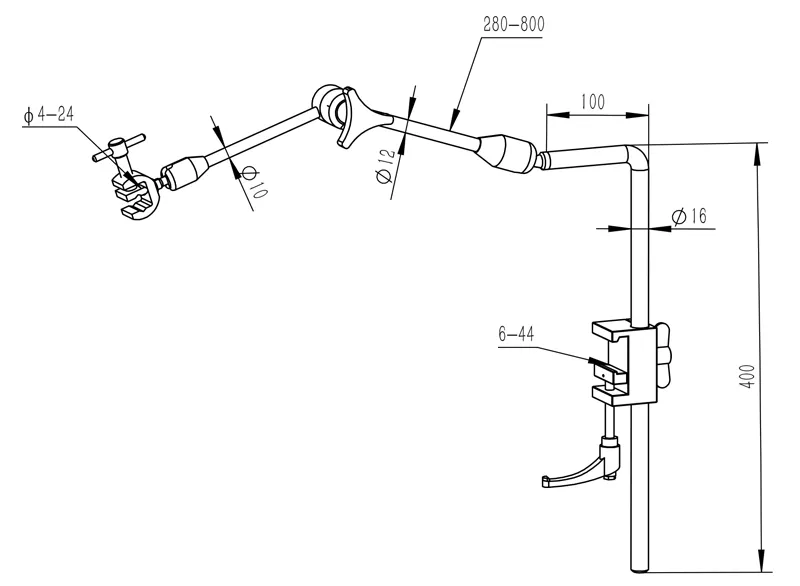
Dan Endoscope Holding Support Arm Quick Lock, magħruf bħala d-driegħ tal-endoskopju kirurġiku tat-"tielet naħa tat-tabib", huwa l-apparat awżiljarju ewlieni għal proċeduri kirurġiċi minimament invażivi bħal dawk fil-kavitajiet addominali u toraċiċi. Huwa ddisinjat speċifikament biex jindirizza punti ta 'uġigħ bħal għeja milli jżomm l-endoskopju waqt il-kirurġija u pożizzjonament instabbli tal-lenti. B'konformità taċ-ċertifikazzjoni CE u adattabilità għolja, saret għodda prattika għat-titjib tal-effiċjenza kirurġika fil-kamra tal-operazzjoni. Huwa mibni bi azzar li ma jissaddadx ta 'grad mediku - u huwa kapaċi jiflaħ id-diżinfezzjoni tal-fwar ta' 134 grad -temperatura għolja. Jikkonforma bis-sħiħ mal-istandards ta 'ġestjoni asettika tal-kamra tal-operazzjoni u jżomm prestazzjoni ta' appoġġ stabbli anke wara diżinfezzjoni fit-tul u frekwenti, mingħajr ebda kwistjoni ta 'tixjiħ tal-materjal jew appoġġ maħlul. Id-driegħ huwa ddisinjat bi struttura ta' driegħ konġunta b'ħafna -sezzjonijiet, li tippermetti tul ta 'driegħ apposta u hija mqabbda ma' bażi vertikali. Jista 'jiġi aġġustat b'mod flessibbli għall-firxa u l-għoli tal-estensjoni tad-driegħ skont it-tqassim tal-mejda tal-operat u d-drawwiet operattivi tal-kirurgu. It-tarf huwa mgħammar b'apparat ta 'strument kombinat li jista' jakkomoda diversi strumenti kirurġiċi bħal endoskopji u laparoskopji. Id-disinn multi-ġonta jappoġġja 360 grad sħiħ-aġġustament dimensjonali, u wara l-aġġustament, jista 'jillokkja b'mod stabbli l-angolu biex jipprevjeni t-tħawwid u l-ispostament tal-lenti waqt il-kirurġija, u jiżgura kamp kirurġiku ċar u stabbli.

Karatteristiċi tal-Prodott
1,Fwar-sterilizzabbli f'134 grad
2, One -touch qfil tal-pum, faċli biex topera
3, Kwalunkwe pożizzjoni tista 'titqiegħed sempliċiment, malajr
ub'mod preċiż
4, Dan il-prodott għadda minn sterilizzazzjoni stretta
esperimentiu għandu rapport tat-test ipprovdut minn
terza-parti

Speċifikazzjonijiet tal-Prodott

| Isem tal-prodott | Endoskopju Holding Support Arm Quick Lock | |
| Oġġett Nru. | WYAM070-B.01 | |
| Materjal | SS304 | |
| Ikklampjar tad-detentur | ɸ4-24mm | |
| Kapaċità tal-Ġarr | 3kg-5kg | |
Assigurazzjoni tal-Kwalità



Manifattur tas-sors

Ċertifikazzjoni CE

Servizz personalizzat

Ġarr ta' tagħbija-qawwi

Faċli biex tinstalla

Wara{0}}garanzija tal-bejgħ
Aħna ppruvati li nkunu kwalifikati

Akkoljenza tal-Wirja

It-tags Popolari: endoskopju azjenda driegħ ta 'appoġġ quick lock, iċ-Ċina, manifatturi, fornituri, fabbrika, personalizzati











